联系我们
400-0026-370
- 地址:
- 中国·浙江
- 官网:
- www.feigeslhl.com
GCL-E1型手推单轨小车
添加时间:2015/11/6 9:34:28


国产武林GCT型手推单轨小车与手拉葫芦或其他的起重工具配合使用,安装于工字钢上,以手推起吊重物驱动,它具有结构先进、外形美观、传动效率高、手拉或受推力小等特点。广泛地使用于工厂、矿山、码头、仓库和机房等地安装设备和装卸货物。尤其适用于无电源地点的设备维修工作。
产品特点
武林GCT型手推单轨小车工作安全,维护简易,结构紧凑,安装尺寸小。车轮轮缘间距可按轨道宽度要求简易调整,使用方便。车轮内采用滚动轴承设计,传动效率更高,手推力小。车轮经过特殊设计的特殊形状的踏面,使其能在1:6及1:6以下的斜轨面或平轨面上行驶。车轮的轮缘设计,能在较小曲率半径的弯道上行驶。
产品结构
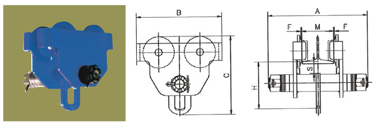
手推单轨小车的结构如图所示,安由左墙板、右墙板、挂梁、吊环等组成。
小车的左、右墙板上分别装有车轮,挂梁穿过左、右墙板,用螺母紧固。吊环装置在挂梁中,手拉葫芦即悬挂在吊环上。
若牵引小车或推动起吊重物使可使小车在轨道上运行。
为适应不同的工字钢轨宽,可用调整垫圈安放在墙板内侧或外侧的方法加以调整。
安装:
小车安装时,应使吊环至左、右墙板内侧的调整垫圈数量相等,但为了保证轨道侧面与车轮轮缘之间的间隙F,必要时允许吊环两内侧的调整垫圈数差1薄片。对于最大或最小的工字钢轨宽墙板外侧或内侧的调整垫圈数应不少于1片。
小车安装在轨道上后,拧紧挂梁上的螺母,挂上轻载荷式运行,待车轮均与轨道接触后,在拧紧外侧的锁紧螺母,请特别注意挂机梁上内侧的螺母与外侧的锁紧螺母必须相互锁紧。
安装完毕,经轻载和1.25倍额定载重量的动负荷试车,在全程范围内往复运行,确认小车及轨道等情况正常后方可正试使用。


上一条:没有了!
下一条:GCL型手推单轨小车
【打印此页】



